據外媒報道,特斯拉一直在盡可能地提高車輛效率,現在該公司正在為一種新的“更高效”的溫控座椅申請專利。

即使特斯拉在過去幾年里推出了許多新的電動汽車,但這種長壽命的汽車一直都很高效。盡管這種汽車配備了非常高效的動力總成、強勁的空氣動力學性能和出色的重量管理,但特斯拉仍在尋找其他更不尋常的方法來提高車輛的效率。此前,特斯拉開發了一種比傳統雨刷更節能的新型電磁雨刷系統。現在,特斯拉仍在研究新的座椅設計,為座椅集成了溫度控制系統,以更好地冷卻和加熱座椅,從而使車輛更加節能。在專利申請中,特斯拉表示,目前的通風座椅存在一個問題:通過座椅泡沫通風通常不足以消除多余的熱量,并為乘員提供舒適的乘坐環境。此外,傳統的加熱系統體積龐大,占用座椅的空間,使座椅更厚,由于熱量需要通過多層材料和不與乘員接觸的加熱區域,座椅的加熱效率較低。因此,有必要對汽車座椅溫度控制系統進行改進。

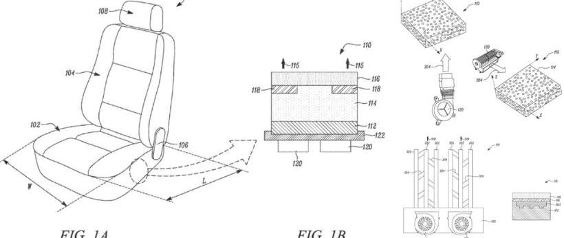
特斯拉還描述了配備有溫度控制系統的新型汽車座椅的設計:座椅包括座椅部分和與座椅部分耦合的靠背部分,并且還包括溫度控制系統,并且該系統與至少一個座椅部分和靠背部分相關聯。溫度控制系統包括基底和與基底相鄰的中間層,中間層可以通過液體來冷卻座椅。此外,該系統還包括至少一個加熱元件和流體泵,該加熱元件布置在中間層和與中間層相鄰的覆蓋層之間,該流體泵使液體在中間層中流動。特斯拉表示,座椅設計成本低、噪音低且非常節能,溫度控制系統提供了一種低成本、低噪音、節能高效的加熱和冷卻座椅的方法。(圖片均來自electrek.co)據外媒報道,特斯拉一直在盡可能地提高車輛效率,現在該公司正在為一種新的“更高效”的溫控座椅申請專利。

即使特斯拉在過去幾年里推出了許多新的電動汽車,但這種長壽命的汽車一直都很高效。盡管這種汽車配備了非常高效的動力總成、強勁的空氣動力學性能和出色的重量管理,但特斯拉仍在尋找其他更不尋常的方法來提高車輛的效率。此前,特斯拉開發了一種比傳統雨刷更節能的新型電磁雨刷系統。現在,特斯拉仍在研究新的座椅設計,為座椅集成了溫度控制系統,以更好地冷卻和加熱座椅,從而使車輛更加節能。在專利申請中,特斯拉表示,目前的通風座椅存在一個問題:通過座椅泡沫通風通常不足以消除多余的熱量,并為乘員提供舒適的乘坐環境。此外,傳統的加熱系統體積龐大,占用座椅的空間,使座椅更厚,由于熱量需要通過多層材料和不與乘員接觸的加熱區域,座椅的加熱效率較低。因此,有必要對汽車座椅溫度控制系統進行改進。

特斯拉還描述了配備有溫度控制系統的新型汽車座椅的設計:座椅包括座椅部分和與座椅部分耦合的靠背部分,并且還包括溫度控制系統,并且該系統與至少一個座椅部分和靠背部分相關聯。溫度控制系統包括基底和與基底相鄰的中間層,中間層可以通過液體來冷卻座椅。此外,該系統還包括至少一個加熱元件,該加熱元件布置在中間層和與中間層相鄰的覆蓋層之間,以及流體p……p使液體在中間層流動。特斯拉表示,座椅設計成本低、噪音低且非常節能,溫度控制系統提供了一種低成本、低噪音、節能高效的加熱和冷卻座椅的方法。(圖片均來自electrek.co)
標簽:特斯拉
在今年一季度名爵EZS純電動上市前,我曾有機會短暫試駕了這臺造型精致的小型電動SUV,在試駕文章中也曾針對其小有樂趣的駕駛質感給予好評。
1900/1/1 0:00:00在馬來西亞總理馬哈蒂爾見證下,華為技術馬來西亞有限公司與馬來西亞明訊MAXIS于3日簽署了一項在馬來西亞建設5G網絡的合作協議。
1900/1/1 0:00:00據路透社援引知情人士透露,日產汽車董事會將于周二召開緊急會議。目前,日產內部對下任CEO人選出現分歧,這讓公司剛剛成立不久的提名委員會處于危險之中。
1900/1/1 0:00:00車市“寒冬”仍在延續。國內傳統燃油汽車產銷量跌跌不休,令人不安;相比之下,國內新能源汽車產銷量尚能保持增長,令人振奮。
1900/1/1 0:00:00索賠21億元吉利起訴威馬侵害商業秘密案一躍成為目前國內知識產權界訴訟金額最大的商業糾紛案,因為如此天價金額,引發業界和網友的關注,甚至有部分媒體人直呼“造車新舊勢力之爭加劇”。
1900/1/1 0:00:0010月10日,工信部公示《享受車船稅減免優惠的節約能源使用新能源汽車車型目錄》(第十一批)》。
1900/1/1 0:00:00